fénykép nyílt forrásokból
Állami Központi Mérnöki Kutatóintézet (TsNIImash, alatt Roscosmos) 2 év alatt tervezi egy sor új tüdő kiadását űrhajós csomagok űrhajósok számára. Ilyen táskák biztosítsanak biztonságos munkát a világűrben és segítsenek az űrhajósnak vészhelyzetben térjen vissza az állomásra. Ezt jelentette egy hátizsák fejlesztőktől – az Orosz Akadémia kozmonaut akadémikusa űrhajós Mikhail Burdaev.
fénykép nyílt forrásokból
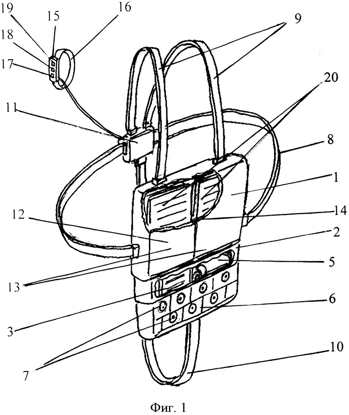
A táskát az űrruhához kell rögzíteni, a táska egyik legfontosabb jellemzője napelemek, amelyek szükség esetén fordulj meg. Az elemek feltöltik az akkumulátort, ahonnan az elektromos sugárhajtású motor működésétől függ.
fénykép nyílt forrásokból
A MIPT kutatója, Ivan Zavyalov kifejtette, hogy a szokásos egy sugárhajtású motor éget üzemanyagot és a természetes fordulatszámot a gázkibocsátás a fúvókán keresztül nagyon korlátozott, és Az elektromos sugárhajtású motor ionizálja a gázt és a töltött ionokat gyorsítson fel egy elektromos mezővel – ennek eredményeként a gáz kilépési sebessége 10 és 10 g / l többször nagyobb, mint egy vegyipari motornál. Ezért ilyen a motorok sokkal kevesebb üzemanyagot fogyasztanak. Oroszországban kétféle van az elektro-kreatív létrehozásával foglalkozó gyártóhelyek motorok – OKB “Fakel” a kalinyingrádiól és az OJSC “KB Himavtomatiki” Voronezsől.
Ezenkívül Burdaev és munkatársai találmányának újszerűsége A TsNIImash olyan további motorokban található, amelyek szükségesek lesznek rögzítse az űrruha előtt és fékként szolgáljon – az űrhajósnak szüksége van általában biztonságos találkozó a hajóval, amikor az visszatér nagy sebességgel. Feltételezzük, hogy a táska súlya nem lesz több, mint 10 kg.
– Ötletek a térbeli hátizsákokról a szabad mozgáshoz az űr már régóta fennáll, még a tudományos fantasztikus írók körében is. Az egyik az első minták Az amerikaiak volt egy rakéta pisztoly, hogy vele volt egyedül. Ez egy kis sugárhajtású motor, amely egy női hajszárító. Valójában hajszárítóval is repülhet, bár nem szabadban térben és az állomáson belül. Például Yuri Artyukhin űrhajós belsejében állomás háztartási porszívón repült – mondja Burdaev.
Az ember először az űrbe ment 50 évvel ezelőtt. Március 18 1965-ben Aleksej Leonov űrhajós tett egy hajón “Napkelte 2”. Jelenleg orosz és amerikai űrhajósok az állomással való tengelykapcsoláshoz használjon karabineket (kábeleket), amelyek az állomás épületéhez kapcsolódnak. A targoncák felváltva ragaszkodnak szerkezeti elemek és rögzített, ami nem engedélyezi az űrhajósok repülni az űrbe.
– berendezések felszerelése az állomás külső felületére, bár előre megfontolják és megtervezik, de mégis emberi részvételre van szükség. Míg nincs tökéletes gépünk és robotok, amelyek helyettesíthetik az emberi munkát a világűrben, szintén szükség van berendezések javítására. Például a 1979-ben Vlagyimir Ljakov és Valerij Ryumin kozmonautak voltak nyitott teret nem tervezett módban, és a KRT-10 antennát rögzítse, amely az állomástól elválasztva rosszul fordult a szomszédos eszköz számára, és megzavarta a hajó repülését. Hasonló helyzetben a robot nem fog segíteni ”- mondja Burdaev űrhajós.
– Nagyon függ az űrhajós biztonságos eltávolításának méretétől állomáson. Ebben az esetben ilyen távolságot értünk az állomástól, amelyben a táska visszatér. Végül is mindenki Az eszközök korlátozott lehetőségekkel rendelkeznek. A napenergia képes mozgassa az űrhajósot – a nap méretétől függően akkumulátorok – 50-100 m-re. És akkor véget ér, mint benzin. Az amerikaiaknak sikerült több tengeren menniük tíz méter. Sikerül eltávolítani az elhasznált erőforrást műholdani a legértékesebb alkatrészeket, és új rakétákra szerelheti őket műholdak. Vagyis a műhold nem a készletben, hanem csak a távozásban hagyja el a Földet részben.
fénykép nyílt forrásokból
Jelenleg a “Star” vállalkozás (fejlődő űrhajók) egy űrhajós mentőegységet (USK) hoztak létre, amely lehetőséget kínál a nemzetközi térbe való visszatérésre állomás, de jelenleg nem használja. A súlya 55 kg, nincs fékberendezése és hiányzik töltse fel a napot.
– Az 1980-as években ezeknek a létesítményeknek más feladatok voltak. szovjet az amerikai szakértők pedig elfoglalták az eszközök fejlesztését az űrhajósok (SPK) mozgása az űrben. a szovjet A mindennapi életben levő 400 fontos találmányt nevezik “motorkerékpár”, a fogantyúval ellátott székre is hasonlít van egy táska, amely hozzákapcsolódik az űrruhához, és mögötte található gázpalackok és motorok. Ez az eszköz lehetővé tette a repülést onnan állomásról vagy az űrsiklóból, rögzítsen vagy vizsgáljon meg műholdas, és menj vissza. Vagy üres, vagy műholdas csatornával. A szovjet eszközt csak egyszer használták ellenőrzés céljából 1990 év. Most a kihívás a biztonság. ha a személy jött, vissza kell küldeni – mondja a helyettes Alexander Lazutkin, az OAO atomerőmű Zvezda fő tervezője. Az eszközök következő generációja az amerikai SAFER – Simplified Segítségnyújtás az EVA Rescue számára, szó szerint “könnyű mentőeszköz űrhajós az űrben “, 1994-ben jelent meg. Ez kisebb telepítéssel, az amerikaiak ezt a szabadnapra tették űrruha, mielőtt kiment. Az eszköz kicsi gázellátó keret. Ha egy űrhajós elválik az állomástól mindig elindíthat és visszatérhet.
De mivel még soha senki nem jött el az állomásról, a BIZTONSÁGOSabb soha Burdaev szerint a kinevezést nem vették igénybe, bár ő viseli űrsétát. Hangsúlyozta, hogy az új fejlesztés magában foglalja a legjobb amerikai és orosz tapasztalatokat.
– Az állomástól való elválasztás valószínűsége azonban magas, amikor az űrhajós kiszabadult és a világűrbe repült a történelem során nincs űrhajózás. Előfordultak olyan esetek, amikor egy személy elmulasztotta gondolatlanságát egy szerszámtáskát vagy más dolgot, és elrepültek – mondja Burdaev. – A táskában általában kevés üzemanyag van. De ha akkor garantálnia kell a visszatérést 100 m-nél nagyobb távolságból növeli a tüzelőanyag mennyiségét a projektben. Ha valaki repült a napsütötte árnyékban lefagy. A hőmérséklet az űrben eléri mínusz 70 fok és alatta, az árnyékban – mínusz 150 fok. Az árnyékban tudsz mászni, de nem sokáig. Az első szovjet állomások rendszeresen a Nap felé fordult az egyik oldal, azután a másik hogyan hajlultak, mert amikor a nap felmelegszik, egy másik lehűl – az állomás, mint egy hernyó, megcsigorodott.
Az Energia rakéta- és űrkutató társaság fő szakértője, Jurij Usachev kozmonaut támogatja új eszközök kifejlesztését mozog az űrben.
– Az űrhajósoknak szükségük van ilyen eszközökre. Biztonság ma Az orosz űrhajósok csak mogyorókat és karabineket szolgáltatnak, – mondta Usachev.
Időrobotok Oroszország Nap
